Toyota Files Patent for Flying Cars
MANILA: A flying car is a fancy of every automobile enthusiast. A car that car that can zoom around cutting the winds like never before and one that can open its hidden wings and fly above all. But no car and only time has flown by and we are still waiting for one such mean machine that can fulfill this long seen dream. Many have tried their hand, failed badly and left with heavy disappointment, leaving us with no choice but to wait.
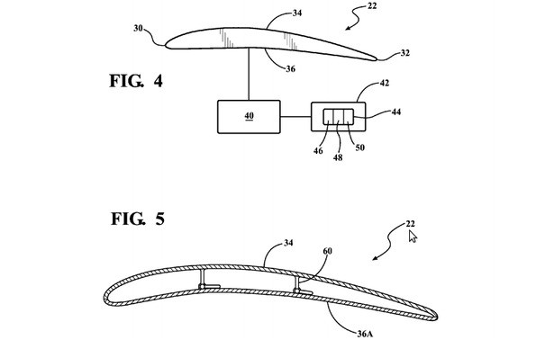
It seems to the Bermuda Triangle of the auto industry, that is not allowing anyone to explore its secretive hidden world. But like the real world explorers, the auto world to have some brave men enlisted that are ready with tools to go forth in this mission. The current hero of the hour is Toyota, that apart from doing the planning work believes in official paperwork too. The auto giant was recently seen heading towards United Nation Patent and Trademark Office, where it filed a patent application 2015/0246720 A1, that covered design for a “stackable wing for an aerocar.”
The patent image didn't reveal much but clearly shows a four-wing design that would rest on the roof on the 'roadable' mode and would open up whenever the driver initiates the 'flying' mode. Also, the profile view image didn't clue towards any elevator or ailerons for pitch and roll control. Though, a vertical tailfin on the rear bonnet look like a cut line for the rudder (oscillate above a vertical axis).
As noted by many, this is just a basic sketch that tells nothing about the mechanisms and engineering that would go into making this wonder vehicle. What we know as for now is that Toyota Motor Engineering & Manufacturing North America, Inc is up for the challenge with two investors Umesh N. Gandhi and Robert W. Roe by its side.
So, let's wait and see how Toyota contributes to this amazing and highly anticipated venture.
Read Also: Flying Cars Soon to be a Reality, Terrafugia Discloses TF-X
Sell your car at the best price
Verified and genuine buyers
Toyota Car Models
MIAS 2026
Trending & Fresh Updates
- Latest
- Popular
You might also be interested in
- News
- Featured Stories
Toyota Featured Cars
- Latest
- Upcoming
- Popular
Latest Toyota Car Videos on Zigwheels
Toyota Car Articles From Carmudi
- journal
